Właz okrągły seria A590
Właz okrągły seria A590 to prosta i uniwersalna konstrukcja z centralnym dociskiem pokrywy. Produkty wchodzące w skład tej serii wykonuje się ze stali nierdzewnych w gatunkach AISI 304 lub AISI 316L. Standardowo właz wyposaża się w pokrętło mocujące z tworzywa sztucznego – opcjonalnie w pokrętło INOX.
Właz tego typu montuje się w pozycji górnej (na dachu) zbiornika bezciśnieniowego.
Duży zakres wysokości kołnierzy montażowych umożliwia na zabudowę w zbiornikach nierdzewnych izolowanych.
Pokrywy włazów z serii A500 o średnicach DN300/400/500/600 mają gładką powierzchnię. Średnice DN380/400/420 wyposaża się w pokrywy z przetłoczeniami.
Zastosowanie włazu okrągłego nierdzewnego seria A590
Przykładowe aplikacje, w których sprawdzą się włazy z serii A590:
- bezciśnieniowe zbiorniki ze stali nierdzewnej,
- komory przemysłowe,
- urządzenia technologiczne i produkcyjne,
- wszelkiego typu aplikacje bezciśnieniowe w środowisku wymagającym podwyższonej odporności na korozję.

Model | DN [mm] | Di [mm] | HxSP1 [mm] | HT [mm]* | SP2 [mm] | MAX [bar]* | Waga [kg] |
---|---|---|---|---|---|---|---|
A590 | 300 | 295 |
60x2** 100x2 150x2 200x2 250x2 |
195 | 1.0 | 0.02 | 4.2 |
A591 | 380 | 375 | 200 | 1.0 | 0.02 | 5.3 | |
A592 | 400 | 395 | 200 | 1.2 | 0.02 | 5.6 | |
A593 | 420 | 415 | 200 | 1.2 | 0.02 | 6.5 | |
A594 | 500 | 505 | 205 | 1.2 | 0.02 | 7.0 | |
A595 | 600 | 600 | 210 | 1.5 | 0.02 | 9.0 |
*Dla wykonania standardowego (HxSP1 = 60x2 mm).
**Wykonanie standardowe.
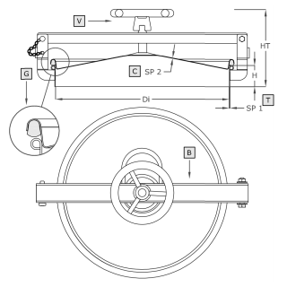
Symbol | Element |
---|---|
V | pokrętło |
C | pokrywa |
G | uszczelka |
T | kołnierz |
B | ramię |
Parametry techniczne
Seria produktowa | Seria A |
---|---|
Kształt | Włazy okrągłe |
Typ | Bezciśnieniowe |
Wysokość kołnierza (w mm) | 60-250 mm |
Grubość ścianki kołnierza (w mm) | 2.0 mm |
Sposób otwierania | Na zewnątrz |
Wymiar | DN300 - DN500, DN501 - DN700 |
Sposób montażu | w dachu zbiornika |
Ciśnienie | poniżej 0.5 bar |
Podciśnienie | nie dotyczy |
Certyfikat PED | nie |
Rodzaj stali | AISI 304/304L, AISI 316/316L |
Materiał uszczelnienia | EPDM, NBR, Neopren, Silikon, Viton |