Właz owalny nierdzewny C13
Właz owalny C13 (310x440) montuje się w dachu lub boku zbiornika ze stali nierdzewnej. Kształt włazu, a także jego wielkość oraz parametry ciśnieniowe pozwalają na zabudowę w zbiornikach o zróżnicowanej pojemności i zastosowaniu.
Pokrywę włazu wyposaża się w solidny zawias, dzięki czemu otwiera się ona sprawnie i bezpiecznie. Zawias ma również za zadanie stabilizację otwartej pokrywy, co w efekcie ułatwia wszelkie prace związane z obsługą bieżącą samego włazu jak i zbiornika.
Dzięki swej uniwersalności, model C13 z powodzeniem wykorzystuje się we wszelkiego typu aplikacjach przemysłowych wymagających podwyższonej odporności na korozję. Podobnie jak w przypadku każdego włazu, planując użycie włazu owalnego C13 w konkretnej aplikacji należy koniecznie wziąć pod uwagę właściwości użytych do jego konstrukcji materiałów oraz komponentów.
Włazy owalne C13 - zastosowanie
Owalny właz C13 montuje się w zbiornikach i urządzeniach procesowych o różnorodnym przeznaczeniu. Głównymi obszarami zastosowania tego modelu włazu są:
- przemysł spożywczy i mleczarski,
- przemysł produkcji napojów i alkoholi,
- przetwórstwo warzyw i owoców.
Właz ten znajdzie również zastosowanie w takich obszarach jak:
- biotechnologia,
- przemysł chemiczny
- produkcja kosmetyków i chemii gospodarczej i wielu innych.

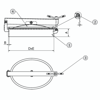
Model | A [mm] |
B [mm] |
C [mm] |
DxE [mm] |
MAX [bar] |
---|---|---|---|---|---|
C13 | 80 | 6 | 2 | 322x452 | 0.8 |
Symbol | Element |
---|---|
1 | rama/kołnierz |
2 | uszczelka |
3 | pokrętło |
4 | pokrywa |
Parametry techniczne
Seria produktowa | Seria C |
---|---|
Wymiar | M (dłuższy bok włazu między 300-500 mm) |
Kształt | Włazy owalne |
Typ | Ciśnieniowe |
Wysokość kołnierza (w mm) | 80 mm |
Grubość ścianki kołnierza (w mm) | 6.0 mm |
Sposób otwierania | Na zewnątrz |
Sposób montażu | w dachu zbiornika, w poszyciu (na boku) zbiornika |
Ciśnienie | 0.5 - 2.5 bar |
Podciśnienie | nie dotyczy |
Certyfikat PED | nie |
Rodzaj stali | AISI 304/304L, AISI 316/316L |
Materiał uszczelnienia | EPDM, NBR, Silikon, Viton |
Materiał pokrętła | INOX |