Właz prostokątny A382
Właz prostokątny A382 pionowy z pokrywą otwieraną na zewnątrz zbiornika. Niewielkie wymiary i mocna konstrukcja sprawiają, że właz dobrze sprawdzi się wszędzie tam, gdzie zachodzi konieczność częstego otwarcia pokrywy w celu kontroli procesu lub aparatury pomiarowej. W razie potrzeby właz umożliwi także pobranie próbek, dosypanie produktu lub też wprowadzenie kuli myjącej (montaż na dennicy górnej).
Model ten powstał z myślą o zabudowie w bocznym poszyciu zbiorników ze stali nierdzewnej i kwasoodpornej. Może być również użyty jako właz górny, zarówno w zbiornikach jak i w innych zastosowaniach wymagających podwyższonej odporności na korozję oraz niewielkich wymiarów.
Standardowo właz A382 wytwarza się ze stali nierdzewnej w gatunku AISI 304, a opcjonalnie ze stali w gatunku AISI 316L. Szeroki zakres elastomerów stosowanych do produkcji uszczelek, pozwala na wykorzystanie włazu do wielu czynników (płynów, cieczy) roboczych.
Zastosowanie włazu prostokątnego nierdzewnego A382
Główny obszar zastosowania to:
- przemysł spożywczy,
- produkcja napojów i alkoholi,
- przemysł chemiczny i biotechnologiczny,
- małe zbiorniki,
- komory pomiarowe.
Z dobrym skutkiem włazu używa się wszędzie tam, gdzie na jego zastosowanie pozwalają parametry użytych do jego konstrukcji materiałów.

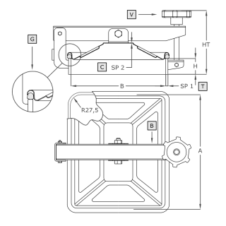
Model | A [mm] | B [mm] | HxSP1 [mm] | HT [mm]* | SP2 [mm] | MAX [bar]* | Waga [kg] |
---|---|---|---|---|---|---|---|
A382 | 312 | 245 |
50x6** 30x6 100x6 |
145 | 1.0 | 0.5 | 6.0 |
*Dla wykonania standardowego (HxSP1 = 50x6 mm).
**Wykonanie standardowe.
Symbol | Element |
---|---|
V | pokrętło |
B | ramię |
C | pokrywa |
G | uszczelka |
T | kołnierz |
Parametry techniczne
Seria produktowa | Seria A |
---|---|
Wymiar | M (dłuższy bok włazu między 300-500 mm) |
Kształt | Włazy prostokątne |
Typ | Bezciśnieniowe |
Wysokość kołnierza (w mm) | 30-100 mm |
Grubość ścianki kołnierza (w mm) | 6.0 mm |
Branża | Chemia, Produkcja spożywcza |
Sposób montażu | w dachu zbiornika, w poszyciu (na boku) zbiornika |
Ciśnienie | 0.5 - 2.5 bar |
Podciśnienie | nie dotyczy |
Certyfikat PED | nie |
Rodzaj stali | AISI 304/304L, AISI 316/316L |
Materiał uszczelnienia | EPDM, NBR, Neopren, Silikon, Viton |
Materiał pokrętła | Tworzywo sztuczne, INOX |