Właz prostokątny A384
Właz prostokątny A384, to średniej wielkości właz pionowy z pokrywą otwieraną na zewnątrz zbiornika. Zwarta i mocna konstrukcja sprawiają, że właz dobrze sprawdzi się wszędzie tam, gdzie zachodzi konieczność częstego otwierania pokrywy w celu kontroli procesu lub zasypu surowców. Sprawdzi się także jako właz rewizyjny lub zabezpieczenie komór z aparaturą pomiarową.
Model ten powstał z myślą o zabudowie w bocznym poszyciu zbiorników ze stali nierdzewnej i kwasoodpornej. Może być również użyty jako właz górny, zarówno w zbiornikach jak i w innych zastosowaniach wymagających podwyższonej odporności na korozję oraz niedużych wymiarów.
Standardowo właz A384 wytwarza się ze stali nierdzewnej w gatunku AISI 304, a opcjonalnie ze stali w gatunku AISI 316L. Szeroki zakres elastomerów stosowanych do produkcji uszczelek, pozwala na wykorzystanie włazu do wielu czynników (płynów, cieczy) roboczych.
Zastosowanie włazu prostokątnego nierdzewnego A384
Główny obszar zastosowania to:
- przemysł spożywczy,
- produkcja napojów i alkoholi,
- przemysł chemiczny i biotechnologiczny,
- małe zbiorniki,
- komory pomiarowe.
Z dobrym skutkiem włazu używa się wszędzie tam, gdzie na jego zastosowanie pozwalają parametry użytych do jego konstrukcji materiałów.

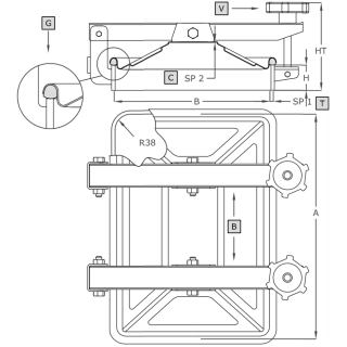
Model | A [mm] | B [mm] | HxSP1 [mm] | HT [mm]* | SP2 [mm] | MAX [bar]* | Waga [kg] |
---|---|---|---|---|---|---|---|
A384 | 405 | 275 |
50x6** 100x6 |
170 | 1.0 | 0.4 | 8.0 |
*Dla wykonania standardowego (HxSP1 = 50x6 mm).
**Wykonanie standardowe.
Symbol | Element |
---|---|
V | pokrętło |
B | ramię |
C | pokrywa |
G | uszczelka |
T | kołnierz |
Parametry techniczne
Seria produktowa | Seria A |
---|---|
Wymiar | M (dłuższy bok włazu między 300-500 mm) |
Kształt | Włazy prostokątne |
Typ | Bezciśnieniowe |
Wysokość kołnierza (w mm) | 50-100 mm |
Grubość ścianki kołnierza (w mm) | 6.0 mm |
Sposób otwierania | Na zewnątrz |
Branża | Chemia, Produkcja spożywcza |
Sposób montażu | w dachu zbiornika, w poszyciu (na boku) zbiornika |
Ciśnienie | poniżej 0.5 bar |
Podciśnienie | nie dotyczy |
Certyfikat PED | nie |
Rodzaj stali | AISI 304/304L, AISI 316/316L |
Materiał uszczelnienia | EPDM, NBR, Neopren, Silikon, Viton |
Materiał pokrętła | Tworzywo sztuczne, INOX |