Właz prostokątny A654
Właz prostokątny A654 pionowy z pokrywą zdejmowaną. Kompaktowe rozmiary i mocna konstrukcja sprawiają, że właz dobrze sprawdzi się wszędzie tam, gdzie dostęp do wnętrza zbiornika nie musi być zbyt częsty, lub też zbiornik funkcjonuje ze zdjętą pokrywą. Właz umożliwia szybkie przykrycie i uszczelnienie otworu dostępowego w razie potrzeby.
Model ten powstał z myślą o zabudowie w górnej dennicy (dachu) zbiorników ze stali nierdzewnej i kwasoodpornej. Standardowo właz A654 wytwarza się ze stali nierdzewnej w gatunku AISI 304, a opcjonalnie ze stali w gatunku AISI 316L. Szeroki zakres elastomerów stosowanych do produkcji uszczelek, pozwala na wykorzystanie włazu do wielu czynników (płynów, cieczy) roboczych.
Zastosowanie włazu prostokątnego nierdzewnego A654
Główny obszar zastosowania to:
- przemysł spożywczy,
- produkcja napojów i alkoholi,
- przemysł chemiczny i biotechnologiczny,
- małe zbiorniki, mieszalniki itp.
Z dobrym skutkiem włazu używa się wszędzie tam, gdzie na jego zastosowanie pozwalają parametry użytych do jego konstrukcji materiałów.

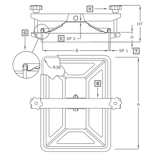
Model | A [mm] | B [mm] | HxSP1 [mm] | HT [mm]* | SP2 [mm] | MAX [bar]* | Waga [kg] |
---|---|---|---|---|---|---|---|
A654 | 405 | 275 |
50x6** 100x6 |
155 | 1.0 | 0.1 | 6.5 |
*Dla wykonania standardowego (HxSP1 = 50x6 mm).
**Wykonanie standardowe.
Symbol | Element |
---|---|
V | pokrętło |
B | ramię |
C | pokrywa |
G | uszczelka |
T | kołnierz |
Parametry techniczne
Seria produktowa | Seria A |
---|---|
Wymiar | M (dłuższy bok włazu między 300-500 mm) |
Kształt | Włazy prostokątne |
Typ | Bezciśnieniowe |
Wysokość kołnierza (w mm) | 50-100 mm |
Grubość ścianki kołnierza (w mm) | 6.0 mm |
Sposób otwierania | Na zewnątrz |
Branża | Chemia, Produkcja spożywcza |
Sposób montażu | w dachu zbiornika |
Ciśnienie | poniżej 0.5 bar |
Podciśnienie | nie dotyczy |
Certyfikat PED | nie |
Rodzaj stali | AISI 304/304L, AISI 316/316L |
Materiał uszczelnienia | EPDM, NBR, Neopren, Silikon, Viton |
Materiał pokrętła | Tworzywo sztuczne, INOX |